Thursday, February 6, 2014

Is this the Samsung Galaxy S5 Two Versions?

Not yet officially announced, the Galaxy S5 predicted to have two "twin". The information was revealed by the latest leak reported by Cnet.

Mentioned that there are two other twin is a waterproof version and Active Zoom version equipped with a zoom lens camera.

Information existence of the Galaxy S5 Active version reported by the Korean-language site ET News, while the presence of the Zoom version obtained from the database reports import in India which include devices called "SM-C115 Samsung Mobile Camera".

Previously, the previous flagship phone from Samsung, the Galaxy S4, also accompanied by a variant called the Galaxy S4 and Galaxy S4 Zoom Active.

Samsung does have a strategy of flooding the market with different variants of a product, with the goal to embrace as many users from various backgrounds with different needs.

Galaxy S4, for example, also has a variant of "Mini" and later "Black Edition" that whitewash and black imitation leather.

Zoom variant of the Galaxy S5 allegedly going to be priced at 523 U.S. dollars, or roughly the equivalent of the Galaxy S4 Zoom at the time of its release. For now there is no information regarding the specifications and Zoom Active variant Galaxy S5.

Samsung mentioned set high targets for the sale of the Galaxy S5 Active this year. The device is expected to contribute 20-30 per cent of the total sales of the Galaxy line S5.

That figure is much higher than the Active Galaxy S4 is only capable meyumbang 4 percent to the combined sales Galaxu S4.

Galaxy S5 itself is suppose to be officially rolled towards the Mobile World Congress, 24th February in Barcelona.

Updated, the Android - iOS BBM Start to Leave PIN

Application messaging BlackBerry Messenger ( BBM ) introduced since the beginning of the BlackBerry platform requires a personal identification number ( PIN ) for users to connect and communicate.

The PIN method is still used today launched BBM for Android and iOS platforms. However, with the latest update released BlackBerry, on Thursday ( 06/02/2014 ), the procession exchange PIN becoming obsolete. Now, users can add BBM friends without the need for a PIN again.

Through the corporate blog, BBM BlackBerry announced the latest update on Android and iOS have been equipped with the "Find Friends ", which does not ask for PIN information friend. Instead of asking for a PIN, the application will recognize the list of users who are using BBM contacts.

Users can invite new users to use BBM via e - mail or SMS.

This method is similar to that of application messaging service WhatsApp uses your phone number as an identification tool. WhatsApp recognizes contacts who use its services through a number of contacts stored.

However, the method used to identify the contact 's BlackBerry in no further exposed.

BlackBerry likely to compare the user's contact list with information stored in BlackBerry server.

According to the monitoring KompasTekno, Thursday ( 06/02/2014 ) morning, the latest update of new cross platform BBM available for iOS users and can be downloaded from the App Store or through this link.

BBM on Android users seem to have to wait a few more days to try out the features add friends without the PIN.

BBM cross platform can currently only be run on devices that use the Android operating system version 4.0 and iOS 6 up to the top. However, in the near future Android devices version 2.3 ( Gingerbread ) will be able to enjoy BBM services.

Sony Sells Vaio


Sony reportedly is in talks to sell Vaio personal computer business unit of the losers and the fact that the computer industry continues to decline, eclipsed by mobile devices such as smart phones and tablets.

Sony Vaio is being discussed to sell to a new company to be established by Japan Industrial Partners investment firm. Later, Sony will have a small part in the company's shares.

According to the Nikkei business daily reports from Japan, the Vaio business unit sales estimated at 490 million U.S. dollars.

Previously, Sony Vaio reportedly will sell to the Chinese technology company Lenovo, or forming joint ventures.

However, Sony said the report was inaccurate, although the company admits is considering a range of possibilities for future Vaio.

Meanwhile, Lenovo declined to comment on the news.

If you later sell the business unit of the Sony Vaio, the Japanese company will focus on business unit mobie devices, including smart phones Xperia family that carries the operating system Android.

Tuesday, February 4, 2014

Latest Display Windows 8.1 Leaked


Update or first update of Windows 8.1 rumored to be available on March 11, 2014. However, before that date arrives, the leaked files from the update has spread to various sites.

This latest update brings many changes. As quoted from The Verge, Tuesday ( 04/02/2014 ), Microsoft wants to improve the experience of the use of the mouse and keyboard in the Windows 8.1 update 1.

One method used is to add a new title bar style Windows 8 applications. Through the title bar, the user can choose to close, minimize, snap and applications simply by using the mouse.

At Metro, now the user can change the box or the Live tile with ease. Simply right-click, users will be faced with a variety of customization options, such as changing the size of the box, Unpin, and much more.

In this first update, Microsoft will bring Search and Shutdown buttons directly to the Start screen. With a click on the magnifying glass shaped icon, users can search for content on the PC. Meanwhile, the Shutdown button to allow users to turn off, sleep, and restart the computer.


One other addition, users can set the Windows Store apps appear on the taskbar. In this way, the user is guaranteed to more easily access the digital app stores.

Windows 8.1 itself for the first time released on October 18, 2013 last. This operating system is a massive update of Windows 8 is launched in 2012 ago.

"Party" Galaxy S5 Held February 24?


Samsung finally sent out invitations to the media to a launch event on 24 February in Barcelona, Spain. According to the gossip, the launch of this flagship smartphone Samsung Galaxy S5.

Based on the text which is listed on the invitation, as if to indicate the presence of the Samsung Galaxy S5. The text on the invitation reads, " Unpacked 5 ".

As quoted from Pocket Lint, on Tuesday ( 04/02/2014 ), number five on the text hints Galaxy S5 attendance at this event.

Samsung also provide other clues that this is not the only Unpacked event in 2014. In this invitation, the South Korean company also include the word " Samsung Unpacked 2014 Episode 1 ". Chances are, there will be a second episode onwards this year.

Unpacked event itself is a routine event, in which Samsung introduced the " big " or the latest flagship. In Unpacked event in 2013, Samsung released the Galaxy S4.

Samsung is said to be releasing two versions of the Galaxy S5, which both have 5.2 -inch landscape display and plastic shells.

What distinguishes the two is the screen resolution and processor. The above models or so-called " Prime " will come with a screen resolution of 1,440 x 2,560 pixels by 565 pixels screen density per inch. Meanwhile, more models will be equipped with a standard resolution of 1,080 x 1,920 support pixel by 423 pixel density per inch.

As for the processor that will be used is the prime model of the Samsung Exynos 5430 32 - bit and octa - core Snapdragon 800 standard models use 32 - bit quad - core processors made ​​by Qualcomm.

Previously, one of the officials of Samsung, Lee Young Hee has given little hint, when exactly the Galaxy S5 will be present in the market. According to Executive Vice President of Samsung Mobile, the Galaxy S5 will be available between March and April.

How Facebook Storing User Data?



Every day, countless photos, videos, and other types of files uploaded by the hundreds of millions of users to Facebook. Only a fraction of them are often seen by the user. However, all this content would need to be stored so that takes up space on the storage media social networking server.

How can I make obsolete contents can be maintained in storage medium ( so as not to be lost when searched ) but not too bulky and cost ? Facebook felt the need to look for an alternative to conventional hard disks.

Last week, in the event the Open Compute Summit, the company demonstrated a prototype system that uses cold storage Blu-ray discs to store data up to few million petabytes or Gigabyte.

A total of 10,000 Blu-ray discs can be stored in a special cabinet that is more than 2 meters high. Robot arms then took the discs are arranged in a series of magazines to retrieve data from the corresponding disc.

A Blu- ray disc itself is designed separately hold data ranging from 25 GB to each chip single - layer up to 128 GB of on -chip 4 - layer variant.

Excerpted from The Verge, vice president of technical fields Facebook Jay Parikh said that the Blu - ray -based systems could save up to 80 percent of energy use and costs by up to 50 percent compared to conventional cold storage method that relies on the hard disk.

Blu - ray is not ideal for primary storage medium for data transfer speeds are relatively slow, but the discs are ideal for storing data that is infrequently accessed, such as file backup of photos and videos Facebook users.

Currently, Blu -ray data storage is already being used by Facebook and can store large amounts of data, up to 30 petabytes. Going forward, the company intends to use the social network of energy -efficient flash memory for storing data, but the solution is relatively expensive compared to other alternatives.

Sunday, February 2, 2014

Microsoft Persuade PS3 Owner to Buy Xbox One

A few months after its launch, the Xbox game console from Microsoft One looks begin to lag behind rival weight, PlayStation 4 ( PS4 ) from Sony.

Sales announcements made ​​by both parties at CES 2014 in early January showed that the number of Xbox One until December 2013 sold less than 1 million units of the PS4.

Microsoft seems to feel the pace and started trying to find ways to boost sales of the Xbox One.

One of them, as reported by Geek.com, is the trade-in program launched by the lure of discounted price of 100 dollars, for owners of the PlayStation 3 ( PS3 ) - precursor PS4 - swapping devices with Xbox One.

With the discount, the price of the Xbox One truncated to 399 U.S. dollars to equal the PS4. One current Xbox is sold more expensive than the PS4, which is 499 U.S. dollars.

However, a program called " Ditch the PS3 Cell " This has a big drawback in which the PS4 could be obtained at the same price without having to bother exchanging PS3 and miss collection of games that can be played with the console.

This is used by the PS4 fans by releasing the contents of the response suggest that PS3 owners do not inedible seduction Microsoft, as can be seen in the example above.

Both the PS4 and Xbox One game is not compatible with the previous generation console written for ( PS3 and Xbox 360 ).

Unfortunately, Microsoft does not market the Xbox One in Indonesia. As for the PS4, the market has officially entered the country with a price tag of Rp 7 million.

Microsoft Worrying Windows 8 Interface


Since its launch in October 2012, Windows 8 has received several improvements from Microsoft, including Microsoft's version 8.1 which was introduced one year since its launch.

Now, back to prepare updates for Microsoft Windows operating system called 8.1 Update 1. Microsoft is drafting an update of what will be provided, but some rumors have emerged. One is related to the main user interface of the operating system.

During this confusion arises in the middle of Windows 8 users, especially the users desktop. No wonder, because Windows 8 from Microsoft originally created in anticipation of the market leading to the mobile era.

A distinctive feature of Windows 8 is the interface formerly known as " Metro " featuring a Live Tile on the main screen. By default, the live tile will be displayed after the system turns on.

Rumors say that Microsoft will replace the Live Tile interface with the look of the Windows desktop by default after boot up. As reported on The Verge ( 1/30/2014 ).

Choices boot - to- desktop is enabled by default it will bypass the typical plaid screen of Windows 8 so far. This will be covered in the Update 1 release of Microsoft in the near future.

By the turn of this interface, Microsoft seemed to betray the original concept of Windows 8 that rely on touch-screen technology.

Windows 8 is designed with the concept for use in mobile devices such as tablets or detachable devices, optimized for touch screen interaction.

The problem is, many users are still relying on a keyboard and mouse, and interact in a desktop environment that resembles Windows 7.

Earlier in the Windows 8.1 update, Microsoft listened to many users request and returns to the Windows 8 Start button. Although its function is not as they had hoped.

Microsoft may have to rethink again the concept of Windows 8 for desktop users. In Update 1 later, Microsoft is also reportedly going to make that Metro apps can be run in a separate window on the desktop.

Yahoo Prepare a Competitor of Google Now


Under the leadership of Marissa Mayer, Yahoo did a lot of changes, both in terms of appearance as well as corporate strategy. The latest move is to acquire Yahoo developer Incredible Labs.

Incredible Labs is a company that is behind the personal assistant application on iOS platform. The application named Donna.

In its official statement, Yahoo said that they and the Incredible Labs has the same vision that technology should be smart enough to think for themselves and for their users.

In part of the agreement, seven employees of Incredible Labs will join Yahoo, while one of the co -founders chose to make the application more interesting.

With the acquisition is carried out by Yahoo, so Donna could no longer be downloaded through the Apple Apps Store. Donna is an application that displays a variety of daily information, such as weather, traffic, and other tips are required daily, similar to Google apps Now, artificial competitor Yahoo.

According to Engadget ( 30/01/2014 ), it is possible with the acquisition, Yahoo will make the application match their own version of Google Now.

Incredible Labs owned technology will be combined with Yahoo's own applications, such as weather information that looks nicer and has been widely used.

Android Nokia Faster Than Lumia 1020


Slowly veil Android smartphone made ​​by Nokia began to open. Chip -by -chip clues began popping up on the Internet.

Having previously mockup smartphone dubbed the " Normandy " was leaked on the Internet, the following screenshots AnTuTu benchmark results, now turn screenshots BrowserMark Normandy outstanding.

BrowserMark software testers are used to determine the performance of the smartphone when used to browse the Internet. In these tests, the Normandy placed himself as middle class.

Android smartphone made ​​by Nokia that has a benchmark score of 1885 recorded in the test intensity BrowserMark processor. These results are equivalent to the middle class smartphones like the Sony Xperia C.

But surprisingly, based on the scores BrowserMark, Normandy was superior compared to high-end smartphones Nokia, Lumia recorded a score of 1020 -1700s.

Normandy browsing performance comparisons with other smartphones can be seen from the graph below. Normandy in the chart identified by the name of Nokia X.
Score BrowserMark Nokia Normandy

Previously, from leaks AnTuTu benchmark, note that the specifications of the Nokia Normandy include 200 Snapdragon processor, Android OS 4.4.1 Kitkat, 4 -inch screen resolution of 854 x 480 pixels, and a 5 megapixel camera.

Previously, sources KompasTekno have seen firsthand device codenamed the Normandy. According to him, the device is going to come with a dual - SIM capabilities and using the Android 4.4 OS Kitkat.

Note also that this phone was already " landed " in Indonesia. Nokia has been quietly applying for certification Nokia Normandy in the Resources Directorate of Post and Information and Tools ( SDPPI ) Ministry of Communications and Information Technology under the code RM - 980.

Normandy was allegedly going to be formally introduced in the Cars World Congress event in Barcelona, Spain, February. Normandy called targeting lower middle market segment with a price range of 150 dollars.

That BB10 is Slim Android version?

BlackBerry has just unveiled the newest update to the operating system BlackBerry 10 ( BB10 ). With the 10.2.1 version, the BlackBerry smartphone can run Android applications through the file. APK.

However, recently circulated a video showing that to run Android, BlackBerry smartphones running the Android OS is actually within its QNX operating system.

In fact, in the video was also shown that it is actually possible to run the full Android interface by clicking Install Nova Launcher.

Videos uploaded by user id such as tomtechish basically shows that BB10 is Android 4.2.2 which has been stripped. That is, some of the native Android detachable components, such as the Phone dialer and apps as well as Android's core services.

Google Play services are also not included, although the video uploader has tried to install Google Play Store by sideloading method, but in the end turned out to crashed.

From the video, Android Authority ( 1/29/2014 ) concluded that the condition of the BlackBerry is now totally reliant on Android, not only with BlackBerry Messenger, but also to add to the experience of the use of BB10.

If you continue like this, it could be in the future BlackBerry BB10 really took off in full, or provide a dual - boot with Google Play purchasing certification application.

Will the iPhone camera lens can be changed ?


Aside from being a smart phone, the iPhone is widely used as a photographic tool. Various additional lens accessories for these gadgets has also been released by a third party.

Now, as reported by BGR, Apple itself has patented a similar teknlogi more sophisticated for the iPhone. There are two kinds of tools are described in the patent numbered 8,636,369 and 8,639,109 it.

The first tool in the form of additional lenses that can be attached to your iPhone or iPad with magnets and a set of " alignment gap " so that the lens can sit in place correctly.

Mounting the lens on the iPhone is also equipped with electrical contacts to run the motor functions such as autofocus and image stabilizer.


The second tool involves a special back cover that comes with a variety of different lens options. Back cover that can be changed is mentioned only slightly thicker than the iPhone's standard cover. Inside the cover there are various subsystems such as camera lenses and sensors.

Technologies in the patent was first filed by Apple in 2010. Last week, the Office of the U.S. Patent and Trademark ( USPTO ) gives rights to those patents against Apple.

Not yet known when the camera lens tools in this patent will be realized. iPhone 6 rumor that will slide in 2014 is predicted to not be equipped with the new technology Apple.

Saturday, February 1, 2014

"Siri" version of Intel not Need Internet Connection


Personal assistant service Siri Apple brings a new breakthrough when it was first introduced. By commanded by voice, Siri gives users what they want. Unfortunately, Siri requires an internet connection to use it.

This is to be " repaired " by Intel on milknya personal assistant technology, named Jarvis. Services were planted in a special headset that is used in the user's ears and connected to a smart phone via Bluetooth.

As reported by The Inquirer, Jarvis does still require an internet connection to search for current data such as traffic information and scores sporting events, but things related to the basic functions of smart phones will be able to run without the need of internet connection.

That is, Jarvis could be asked to do things like answering phone calls and play songs on the device, without the lag time of several seconds as is the case in other similar technologies.
Intel Jarvis headset is connected to a smartphone via Bluetooth.

"Is not it annoying when you are in ( U.S. national parks ) Yosemite and the personal assistant is not running because there is no internet connection ? " asked the head of Intel's wearable devices, Mike Bell.

"I can understand if you can not book a place at the restaurant because the phone can not connect to the network, but why can not I run Google Maps or decrease the volume as well ? " Bell asked again.

Bell explained that Jarvis uses new chip from Intel called Edison to do all the processing language behind the user's ear. So this tool does not need to connect to the cloud to perform some of its functions. It is at once accelerate the execution of commands from the user.

Jarvis was introduced as a wearable device ( smart device that can be used in the human body ) by Intel at the Consumer Electronics Show ( CES ) 2014 in early January. Intel also announced a homemade smart watches and computer Edison is just as big as the SD memory card.

Intel has not revealed when Jarvis will be available in the market, but Bell said that the chip giant is trying to sell his own voice command technology into the smart phone manufacturers to be integrated in their products.

Bring Google Chrome Apps to "Mobile Platform"


In September 2013, Google announced plans to bring applications to the mobile operating system Chrome. The application is also planned to be sold through Google Play Store and iOS App Store.

Now, through the official Chromium blog, Google announced that it has launched a toolset for application developers who want to install Chrome Apps to the Android or iOS platform.

Chrome is a web version of the application depends on the computer's graphics processor units and other hardware used, with the help of a specific code that is owned by Chrome.

Now, Google can also do it on a mobile device using a plug -in from Cordova that replicate and replace the Chrome API equivalent.

Google toolset created by the use toolchain is open source Apache Cordova. With this toolset, then the developer can pack their Chrome apps and distribute them via Google Play Store.

The tool can also connect by Google web API is also needed in the mobile version, such as notifications, payment ( Android only), push messaging, file synchronization system, and access to a local storage device.

Toolchain provided by Google claimed to have a workflow that is simple, so easy to use. However, this toolchain is still in the development stage and still need improvement and refinement.

Lenovo ambitions Beat Apple and Samsung

Lenovo's acquisition of Motorola by Google is changing the competitive landscape of the smartphone market. The Chinese smartphone manufacturer in theory would be the third largest smartphone manufacturer in the world, beating Huawei and LG.

Now, Lenovo is preparing to take that next step, to challenge the dominance of Apple and Samsung that are ranked one and two in the world smartphone market.

"Of course, from the first we 've planning to beat them, " said the CEO of Lenovo, Yuanqing Yang, as it is said to Fortune, Thursday ( 01/30/2014 ).

After Lenovo bought Motorola, The company is targeting to sell 100 million smartphones in 2015. This figure is double the total amount of sales of Lenovo and Motorola in 2013.

The strategy is to flood the Chinese market continues to expand while the Lenovo smartphone in the U.S. market with the Motorola brand. In addition to the U.S., Lenovo will also market the Motorola in Latin America and Europe.

In the Chinese market itself Lenovo became the second-largest vendor, while Apple's market share over the years has declined. In 2011, Apple became the third largest vendor in China. However, until the end of 2013, his performance dropped to sixth.

Analysts say Apple's decreasing market share in China because the company does not have the low end devices that are sold cheap.

Like What Lenovo Android Motorola in Hand?


Lenovo telah melakukan kesepakatan dengan Google untuk membeli divisi handset Motorola senilai 2,9 miliar dollar AS. Di bawah Lenovo, Motorola diharapkan bisa berkembang lebih pesat.

Motorola sempat memiliki nama yang besar di industri ponsel, tetapi akhirnya kalah bersaing sebelum akhirnya dibeli oleh Google pada tahun 2012, yang bertujuan untuk mendongkrak eksosistem Android.

Namun, walau Motorola menelurkan smartphone-smartphone Android yang berkualitas, ternyata Google belum bisa mendongkrak bisnis handset-nya. Karena itulah, Google melepas Motorola ke perusahaan yang sepenuhnya terjun di bisnis handset.

Kini di bawah Lenovo, Motorola diharapkan bisa berkembang lebih baik dibandingkan saat ditangani oleh Google. Harapan tersebut muncul setelah melihat rekam jejak Lenovo dalam menangani produk hasil akuisisi, seperti yang dilakukan terhadap ThinkPad sebelumnya.

Dikutip dari Cnet, Kamis (29/1/2014), setidaknya ada beberapa hal yang bisa membuat Motorola lebih bersinar di bawah Lenovo.

Pertama adalah persilangan teknologi antara Motorola dan Lenovo akan menghasilkan perangkat Android yang lebih sempurna.

Motorola telah meluncurkan beberapa smartphone dengan fitur yang futuristis dan inovatif, seperti Motorola Moto X dan Droid Maxx. Namun sayangnya, smartphone tersebut belum bisa menyamai kemampuan smartphone top lain, seperti Samsung Galaxy Note 3, Note 4, LG G2, Nexus 5, atau HTC One.

Sementara di sisi lain Lenovo memiliki Vibe Z yang mengusung prosesor quad core Snapdragon 800 2,2 GHz. Prosesor ini jelas performanya di atas platform komputasi X8 yang saat ini digunakan Motorola.

Kedua adalah faktor desain. Lenovo setelah membeli bisnis laptop ThinkPad dari IBM berhasil mempertahankan desain keyboard yang banyak dipuji. Ini dijadikan patokan bahwa Lenovo juga harus bisa mempertahankan kualitas desain yang dimiliki Moto X. Jika Lenovo berhasil, bisa saja desain smartphone Motorola mendatang bisa lebih baik dibanding Samsung, Apple, atau bahkan HTC.

Faktor penentu ketiga adalah kamera. Lenovo akan membekali Vibe Z dengan kamera bersensor 13 megapiksel yang diharapkan juga akan diintegrasikan ke dalam smartphone Motorola.

Selama ini kualitas kamera Motorola kurang bisa bersaing, seperti Droid Razr dan Moto X, yang kalah di sisi kualitas foto. Di lini smartphone yang diluncurkan tahun 2013, Motorola memasang sensor 10 megapiksel.

Kini, catatan kesuksesan Lenovo dalam setiap akusisinya seolah membayang-bayangi. Harapan tinggi diletakkan di pundak Lenovo untuk membawa Motorola lebih sukses di pasar smartphone, atau setidaknya bisa lebih baik dibanding saat Motorola di bawah Google.

Lenovo saat ini merupakan produsen smartphone terbesar kelima di dunia, dengan sebagian besar konsumennya berasal dari China. Dengan pembelian bisnis Motorola ini, posisi Lenovo di pasar smartphone dunia terdongkrak ke posisi tiga besar.

Sebelumnya, Lenovo juga telah mengatakan akan menyasar pasar Amerika. Dengan akusisi Motorola ini, nampaknya Lenovo sudah berada di jalur yang benar.

Google boss Explain Why Motorola Sold


Larry Page, CEO of Google today, try to give an explanation over an agreement to buy Motorola by Lenovo. It was perpetrated through Google 's official blog post.

" This is an important step for Android users everywhere, so I wanted to explain it, " wrote Page.

Page explained that Google bought Motorola in 2012 with the aim to boost the Android ecosystem, as well as increase Google's patent portfolio. He felt, for the past 19 months, it has been achieved.

Moto Moto X and G was touted as Motorola 's flagship product that should be commended. " I am very excited waiting line of smartphones ( Motorola ) in 2014, " he wrote.

However, Page continued, competition in the smartphone market is very tight. Therefore, he felt that mobile device makers are " throw themselves fully " will greatly assist efforts to survive.

" That's why we believe Motorola would be better off under Lenovo, " said Page.

Lenovo currently has termed the fast-growing smartphone business. Moreover, they constitute the largest PC manufacturers with the fastest growth.

On the other hand, Google through the sale of its energy can be focused on innovation in the Android ecosystem.

Page also denied that the sale of Google's move implies a change in the device arena. So far I still have the effort in hardware, such as Google Glass ( wearable ) and the acquisition of Nest.

Page said that, in the wearable and home technology markets, and the dynamics of different maturity. " We are very excited about the opportunity to bring foreign products in this emerging ecosystem, " he said.

In short, Google Glass and Nest will not be sold Google in the near future.

Page said Lenovo had intended to maintain Motorola 's identity, just as it did at the time of purchasing the IBM ThinkPad in 2005.

Page went on, as long as the deal is not yet completed, the business will run as usual. " The deal is not yet approved in the U.S. or China, and it usually takes a long time, " wrote Page.

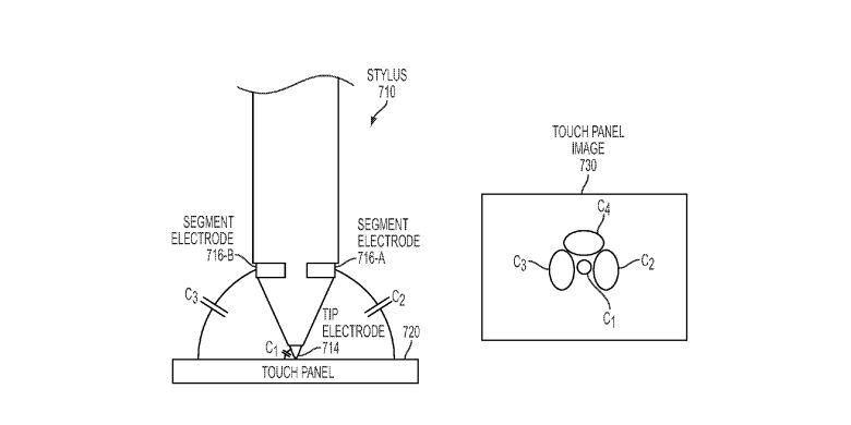
Apple Back Patented Digital Pen Technology


Apple seems serious about developing digital pen technology or popularly called a stylus. The company from Cupertino, California, USA, it is, update the patent technology more sophisticated stylus.

In 2012, Apple has patented technology in the stylus Patent and Trademark Office United States. Based on the rumors circulating in the tech industry, a stylus that reportedly will be named " IPEN. "

More recently, it was also revealed that Apple filed a patent back a different stylus with other conventional stylus. It has a sensor that can determine the orientation of the pressure on the touch screen. If the user draw with pressure rather strong, then it can detect the stylus, thus producing a thicker line.

As quoted from Ubergizmo, Tuesday ( 28/01/2014 ), the stylus can also detect how the user holds the stylus. If the user is holding the bottom of the drawing with a stylus, the resulting line would be different if the user holds the middle or top of the stylus.

This is likely to increase the realism of the user experience using the stylus, like drawing with a pencil.

Previously, Apple has patented technology stylus that can give a kind of vibration feedback when the user draw out or nearly crossed the line.

The digital pen can also give voice to stimulate the user's actions. Stylus will make a sound that was a pencil drawing on a piece of paper, or brush being painted on canvas.

In his patent files, Apple also promises a stylus can be used in the air, without having direct contact with the screen.

Google to Sell Motorola Samsung Fun?


Lenovo has announced a deal with Google to buy Motorola's handset division valued at 2.91 billion U.S. dollars. The purchase is the largest technology transactions conducted Lenovo so far.

Previously, it had been there " signs " that Google will release Motorola after acquiring the company in 2012 and valued at 12.5 billion U.S. dollars. When it was, many suspect that Google's goal is none other than master Motorola's mobile patent portfolio totaling about 17,000.

But the real reason may be more than that. Christopher Mims of Quartz suspect that once Google bought Motorola to compensate Samsung has meraksasa in the realm of Android.

The relationship between Google and Samsung is rather unique. On the one hand, Google's Android benefited from dissemination via Samsung handsets. However, the position is too dominating Samsung Android ecosystem allegedly worried that the Internet giant.

On the other hand, Samsung has shown no indication that it would too dependent on Google's Android platform. Samsung - Google relations strained after Google buys Motorola handset division, especially after the spawn Motorola Android models ciamik are like Moto Moto X and G.

The acquisition of Motorola made ​​the top of Google is not just a friend of Samsung, but also his opponent directly in the hardware business. The Korean electronics manufacturer then increase the pressure on Google to release mobile OS Tizen homemade with the name.

Reconciliation

Later, Samsung and Google look " reconciliation " through a patent licensing agreement. Samsung also stated this week will stop providing similar services owned by Google in the handset makes.

Services include application store is the Samsung Hub and Media Hub interface is placed in front of various Galaxy series handsets. Both services are threatening Google Play services and media library on Android because it has a similar function.

Samsung also spread various core application similar to the default option in Android, including browsers, e - mail, notifications, messaging, and others. As a result, users should choose the Samsung handset which application will be used : Samsung's or Google ?

Now, with the cessation of Samsung emulate these services, confusion will not happen again. Immediately after the announcement of Samsung, Google announced Motorola will sell to Lenovo so no longer a competitor Samsung in the handset business.

Is there a connection behind the sale of Motorola by Google - Samsung partnership agreement ? Is that the price to be " paid " with the Android faithful that Samsung ?

Motorola at Lenovo

Then, what will happen to Motorola after Lenovo bought ? Chinese manufacturers have a strong position in developing countries, while Moto G many referred to as the best cheap Android handsets.

By buying Motorola, Lenovo opened the way to the market areas in North and Central America where Moto Moto X and G welcomed by consumers. Perhaps, Lenovo will be updating Moto Moto X and G of this year, and make it as a flagship product.

" We will use the brand ( Motorola ) to improve our business. Brands Motorola is also very strong in China, " said Lenovo CEO Yang Yuanqing.

Whatever is done Lenovo, Google would create a competitor to Samsung, headed by former Google ( Motorola CEO Dennis Woodside ), at least for now. Lenovo is also the largest PC manufacturer in the world has also been proven to be successful in the hardware business with thin margins.

Thursday, January 30, 2014

Selling Motorola, Google "Loss" 9 Billion Dollars ?

Motorola by Google's sales figures look much smaller than when the first purchase. The selling price of U.S. $ 2.91 billion versus the purchase price of 12.5 billion U.S. dollars. That is, there is a difference of about 9.59 billion U.S. dollars. Did Google nombok for it?

Apparently, Google arguably is not harmed by the transaction.

After buying Motorola, Google sells a set-top division of the company was worth 2.05 billion U.S. dollars to Arris Group. Then, I re- gained nearly 3 billion dollars from Lenovo.

Google itself still holds around 17,000 patents acquired from Motorola. You could say the patents are worth 7 billion dollars after Google's purchase of Motorola is reduced by the introduction of two transactions as mentioned above.

This figure, according to Dan Rowinski on Read Write Web, fairly reasonable considering the Rockstar group buy 4,000 patents from Nortel for $ 4.5 billion dollars.

" We 've got what they want from Motorola, namely patents, a team of engineers, and information about the market / the paper, " said mobile analyst Jack Gold of J Gold & Associates, in an e - mail to Read Write Web.

Gold added that Motorola actually never had a strategic value for Google that does not need to plunge as handset manufacturers. The acquisition of Motorola also put Google in a position contrary to the OEM partners.

Moto Moto X and G sold at a very low price tag for the class because I was not looking for profit, but Android users by offering attractive handsets as cheap as possible. Google's revenue is obtained when the Android users wear its services.

By selling Motorola, Google no longer in conflict with the partner. " They're out of business that does not generate a profit and can concentrate without having to worry about a hardware manufacturer, " said Gold.

Every Day, Facebook opened 750 Million People

The number of " resident " active social networking site Facebook has skyrocketed rising. This further shows the dominance of artificial Mark Zuckerberg 's service in the global social networking business.

On Thursday ( 30/01/2014 ), while the release of fourth quarter 2013 financial report, Facebook also revealed the latest update number of active users.

As quoted from The Next Web, recorded in December, the monthly active users Facebook now has surpassed the 1.23 billion account. According to the Facebook claim, the value showed an increase of up to 16 per cent from the same period in 2012.

Most of the monthly active users access Facebook through mobile devices, such as smart phones and tablets. Facebook reveals, there are 945 million users who access the social network via mobile. The figures symbolize 39 percent increase from the previous year.

Meanwhile, the average number of daily users, Facebook has reached 757 million accounts. Users who access Facebook every day is no less substantial, amounting to 556 million accounts.

Like ever before, the number of mobile users is still the most important thing for Facebook. Facebook is now a public company must prove to investors that users continue to access Facebook while " moving ".

Facebook effort seems to have paid off. During the quarter, it was noted that about 76.83 percent of the account is actively accessing the service each month. Meanwhile, the average daily active users Facebook from mobile devices reached 73.44 percent.

These figures increased from 40 percent in 2011, 50 and 60 percent in 2012, and eventually reached 70 percent in 2013. In 2014 alone, the figure is expected to rise to 80 percent.

From the financial point of view, Facebook managed to get a revenue of 2.59 billion U.S. dollars during the quarter. The value of successfully " beat " analyst predictions that predict Facebook will get a revenue of 2.33 billion U.S. dollars.

Google to Sell Motorola Lenovo

Lenovo has announced a deal with Google to buy Motorola's handset division valued at 2.91 billion U.S. dollars ( about Rp 35 trillion ). As reported by Reuters, this is the largest technology transaction Lenovo so far.

Google bought Motorola for $ 12.5 billion in 2012. Purchase this time include the handset division, but I still have most of Motorola's patents, which is often referred to as the asset purchase motivation when it's Google.

In addition, Google also still will have a research division Motorola, Advanced Technology and Projects ( which includes Project Ara ). While Lenovo will have a license to use the technology developed from there.

The deal still has to go through approval first before it could be implemented, both the U.S. and Chinese government approval.

Lenovo will pay 600 million dollars in cash and 750 million U.S. dollars in the form of ordinary shares. In addition, some $ 1.5 billion will be paid in the form of bonds.

" The acquisition of the iconic brand, with a portfolio of innovative products and a global team that is very talented as this will make Lenovo's strong global competitor in the smartphone arena, " said CEO of Lenovo, Yang Yuanqing.

Wednesday, January 29, 2014

Watch out, Android phone " infected " virus from your PC

Malware or malicious programs that target Android devices typically utilize social engineering and a false application to spread itself.

However, it later emerged a trojan that infects a PC and can " infect " Android gadget connected to the PC. It is somewhat unique because it has never encountered before.

The existence of a malicious program called Trojan.Droidpak was revealed by security firm Symantec reports.

" Previously we have ever come across Android malware targeting Windows systems... to insert the autorun.inf files on micro - SD, " said Symantec researcher Flora Liu, as quoted by PC World.

" But this time we find the opposite, namely that the Windows malware trying to infect Android devices, " said Liu.

Trojan.Droidpak first nested on a Windows PC to create a DLL file and registers her new service in order to stay active in the memory even if the computer has re - booted. He then download the APK file to be installed discreetly to your Android device connected to the PC in question.

This can be done when connected gadgets running Android USB Debugging mode. The mode generally used by application developers or users who will do the rooting.

The malware then make a false application on Google Play Store infected gadgets, complete with the same icon with the Google app store, but the name is slightly different, ie " Google App Store ".

Symantec also found that the malware is looking for certain online banking applications from South Korea, and then attempt to remove and replace it with another version that is already infected.

Trojan.Droidpak also intercept SMS messages sent from the device and sends it to the server control. From this, we can conclude the malware has a financial motive or purpose of stealing money.

Although the goal of targeting a particular country, do not rule out the possibility that other Android malware developers would emulate this new attack techniques.

To date, the method of transmission Trojan.Droidpak still has a weakness, which can only be run if the Android device to enable USB Debugging mode. Therefore Liu advises users to turn off the feature as a preventive measure.

Nokia Android Smartphone Leaked Again

Lately , rumors about Nokia " Normandy " more widely heard . Recent information leaks back shows the hardware specifications of low-end Android phone is .
This specification information is leaked by @ evleaks via Twitter timeline . Evleaks itself known like to divulge information about the gadget that has not even been introduced . Typically , the information from the Twitter account proved true .
According Evleaks , a device that he called the Nokia X will be armed with a 1 GHz Snapdragon processor dual - core processor, 4 -inch display with a resolution of 800 x 480 pixels , and 512 MB ​​RAM .
The product will also be equipped with storage capacity of 4 GB which can be expanded using a microSD card , 5 -megapixel rear camera , and a 1,500 mAh battery .
Still based " chirp " Evleaks , Nokia Android devices do not seem to be using Google Play Store app store . Instead , he will use Nokia's own digital store , namely the Nokia Store .
To KompasTekno , a reliable source who has seen the direct Normandy say Nokia is going to eliminate all Google services , such as Play Store and Google Maps .
Instead of Play Store , Nokia X is equipped with Android 4.4 ( Kitkat ) be able to download Android applications from the Nokia Store . Replacement for the Google Maps application , Normandy will be equipped flagship Nokia maps application , Here .
Nokia X will also have support for the use of two SIM cards at once . In addition , the device is likely to have a colorful casing , similar to what was adopted in the Nokia Lumia devices . Evleaks leaked , this product will be released with a choice of six colors .
Previously , information specifications Nokia " Normandy " had appeared in the online retailer's site The Gioididong.com from Vietnam . The information presented on the site is not much different from what was leaked by Evleaks .
Information on the use of the Android mobile operating system Normandy first obtained by website The Verge from several sources .
According to the technology site predictions , mobile " mysterious " Nokia is not using a version of Android that is similar to ours . Nokia seems to be using Android that have been modified , the same as the Amazon on a tablet product , Kindle Fire .
The purpose of the use of the modified Android is fully customize the use of the Google operating system on Nokia's devices .

Enjoy Video Via Chromecast

Chromecast Google introduced in late 2013. This product is basically a TV dongle that allows users to stream online video from a smartphone, tablet, or laptop to a television screen, connected over the same network.

Chromecast dongle connected to a TV through an HDMI connection, and getting resources from the USB port or AC power outlet. Google said that if the connection is HDMI 4.1 possessed, then Chromecast not require other resources.

Chromecast quite small dimensions, such as Internet dongle. In the sales package, Google includes a power cable (mini-HDMI connection - USB), one HDMI adapter cable connector, charger, and manual.



Installation

In the installation, Chromecast is mounted on the TV and the HDMI connector USB or electrical outlet to get power. First connected, Chromecast will prompt the user to setup through a device that aspires to be used, such as a smartphone or laptop by visiting google.com / chromecast / setup and download apps for Mac, PC, or Android.

From there, users will be guided to install fairly easy. Users must connect Chromecast the existing WiFi network. If you want to pair it with a laptop, users must install the plug-in Google Chrome browser Cast in them.

Meanwhile, if you want to stream video, users can update the latest YouTube app, Netflix, or any other supported applications such as Google Play Chromecast Google Play Movies and Music.


Video streaming applications in the latest update has supported Chromecast. There are special icons for each application that can be activated if you want to stream video from any smartphone to a TV.

This is the excess, Google does not restrict users Chromecast using the same operating system in all devices. Android or iOS smartphone users alike can connect with Chromecast and enjoy video content on TV.

Through Chromecast, not a smartphone stream to the dongle. Rather, ruled dongle to run a video contained in the cloud. Because the users can still use a smartphone to any current streaming has begun.

Dongle is also not limited to one particular account streaming video. So all the devices connected to Chromecast, despite having different accounts, can still enjoy the video content on TV.


Video Playback

Videos that run through Chromecast depending on the Internet connection. Users can also select the video quality you want displayed when available choices, such as in YouTube. But unfortunately when tested with a laptop via a browser, the video quality is lower than it should be displayed.

In Chromecast also not provided a special interface to control video. It would be easier if all the videos combined into one, and the user can easily navigate and control the playback, such as control of play, stop, skip, or mute the audio. To do so at this time the user still has to open an application that is running on a smartphone, and control it from there.


When compared with similar applications, such as AirPlay contained in the video player integrated in iOS and OS X, Chromecast requires developers to create applications support one by one. This causes the current application is still limited and it took a long time to make it popular.

Security is also an obstacle, because anyone who is connected in a network, can send video to the TV. It may be that if there are fraudulent, they play the video in the middle of the video we are watching.

But overall, Chromecast brings a new experience watching video in TV. Google membanderol Chromecast at a price of 350 U.S. dollars. With a relatively cheap price of this user does not have to have a SmartTV feature if you want to enjoy YouTube videos on the big screen or NetFlix.

When is 4K TV Acceptable In Bulk?


TV with 4K display technology is becoming the focus of the company teknogi. The manufacturers are doing research and development on technologies 4K, and some have been sold to the market.

However, the current market response to the 4K televisions are very small, either because the price of the product is still very expensive. Currently 4K television targeting the corporate market segment.

CEO of Sony, Kazuo Hirai argues, it took five to seven years for a 4K television can be adopted en masse. This process is similar to the time of adoption of HD television.

Told The Verge, Tuesday ( 07/01/2014 ), Hirai explained that it is important in the sales process so that consumers can distinguish the quality of 4K and HD television screens that currently exist in retail stores.

According to the standard that made ​​the Consumer Electronics Association, the product must have a 4K TV resolution 3,840 x 2,160 pixels, or four times the resolution of standard high definition ( HD ). Video or device that carries the label 4K must support the resolution.

Sony is currently not positioned 4K television as a mainstream product. However, he said, sales of Sony's 4K television at this time fairly well and according to plan.

2013, PC Sales Decline Worst


Sales of PCs ( laptops and desktop computers ) globally is expected to return a decline of 6.9 percent in the fourth quarter 2013 compared to the same quarter of the previous year, the number of pengkapalan 82.6 million units.

The data described in the initial report Gartner reported by The Next Web. Estimates of this research institute noted that, overall, some 315.9 million PCs pengkapalan units in 2013 to 10 percent lower than in 2012.

That number was recorded as the biggest drop in the history of the PC market. The number of PCs shipped in 2013 fell to equal volumes recorded four years earlier, in 2009.


In line with Gartner report, estimates of the institute IDC research shows that the PC market declined by 5.6 percent year - over-year in the fourth quarter of 2013.

Culprit sluggish PC market, according to Gartner, is a mobile device based on Android - primarily - that many consumers purchased as gifts this holiday season towards the end of last year. This is supported by the average selling price of these devices are getting cheaper.

In the middle of that trend, Lenovo and Dell recorded a positive growth in the range of 6 percent, while other manufacturers, such as Asus and Acer on average suffered a decline of two digits.

AMD Introduces the Range Processor "Kaveri"


As promised, AMD officially launched its newest line of processors on Tuesday ( 01/14/2014 ). Series processors code-named " Kaveri " This continuing scheme A - Series APU name as its predecessor.

Tom 's Hardware site reported that the Kaveri is introduced through three prime models, the A10 - 7850K, A10 - 7700K and A8 - 7600.

AMD A10 - 7850K is the top model is equipped with four cores and eight cores CPU GPU. CPU core speed pegged at 3.7 GHz which can be increased up to 4 GHz in turbo mode, while the GPU runs at 720 Hz. The price in the range of 173 dollars.

In the middle there is a A10 - 7700K is priced 152 U.S. dollars. The chip has four CPU cores and GPU cores six. CPU cores can be driven up to 3.8 GHz of default speed of 3.4 GHz, while the GPU runs at 720 MHz.

Lastly, there is the A8 - 7600 which has the tag of the most expensive, which is 119 dollars. The processor is equipped with four CPU cores and GPU cores six each running at a speed of 3.3 GHz (3.8 GHz turbo) and 720 MHz. The level of power consumption ( TDP ) models the lowest among the other Kaveri, which is 45 watts versus 95 watts at A10 - A10 - 7850K and 7700K.

AMD also provide a series of Kaveri with the latest technology. Series processor is the first product of the company is applying the concept of Heterogeneous Systems Architecture ( HSA ), which facilitate collaboration in a shared CPU - GPU processing tasks.

There are also new APIs support from AMD, Mantle, which is designed to optimize the Radeon GPU in the Kaveri in the running game, support DirectX 11.2 and OpenCL 2.0.

Two prime Kaveri models, namely A10 and A10 - 7850K - 7700K, began shipping in the 4th quarter of 2013 and is already available on January 14, 2014. The two chips are bundled with the game Battlefield 4. The A8 - 7600 will be delivered following the first quarter of this year.